0

Крышка вертикального поворота вверх на 90° КЛУВ-90

Крышка вертикального поворота вверх на 90° КЛУВ-90
Код товара: 016110
Кол-во
Информация о доставке

Доставка товара в пределах РФ осуществляется через Транспортные компании.

Стоимость и сроки доставки зависят от расстояния до Вашего объекта, массы и объема товаров, а так же от условий Транспортной компании.

Варианты оплаты

Оплата осуществляется безналичным способом, путем перечисления денежных средств на расчётный счет компании.

Описание
Характеристики
Крышка вертикального поворота вверх на 90° КЛУВ-90
Крышка вертикального поворота вверх на 90° предназначена для защиты от внешних воздействий кабеля и проводов в кабельных лотках. Крышка защелкивается на лоток простым нажатием.

Тип замка для крышки - V-образный.
Исполнение: оцинкованная сталь по методу Сендзимира. 
Возможны исполнения: горячее цинкование, полимерное покрытие, нержавеющая сталь (AISI 304 / AISI 316).

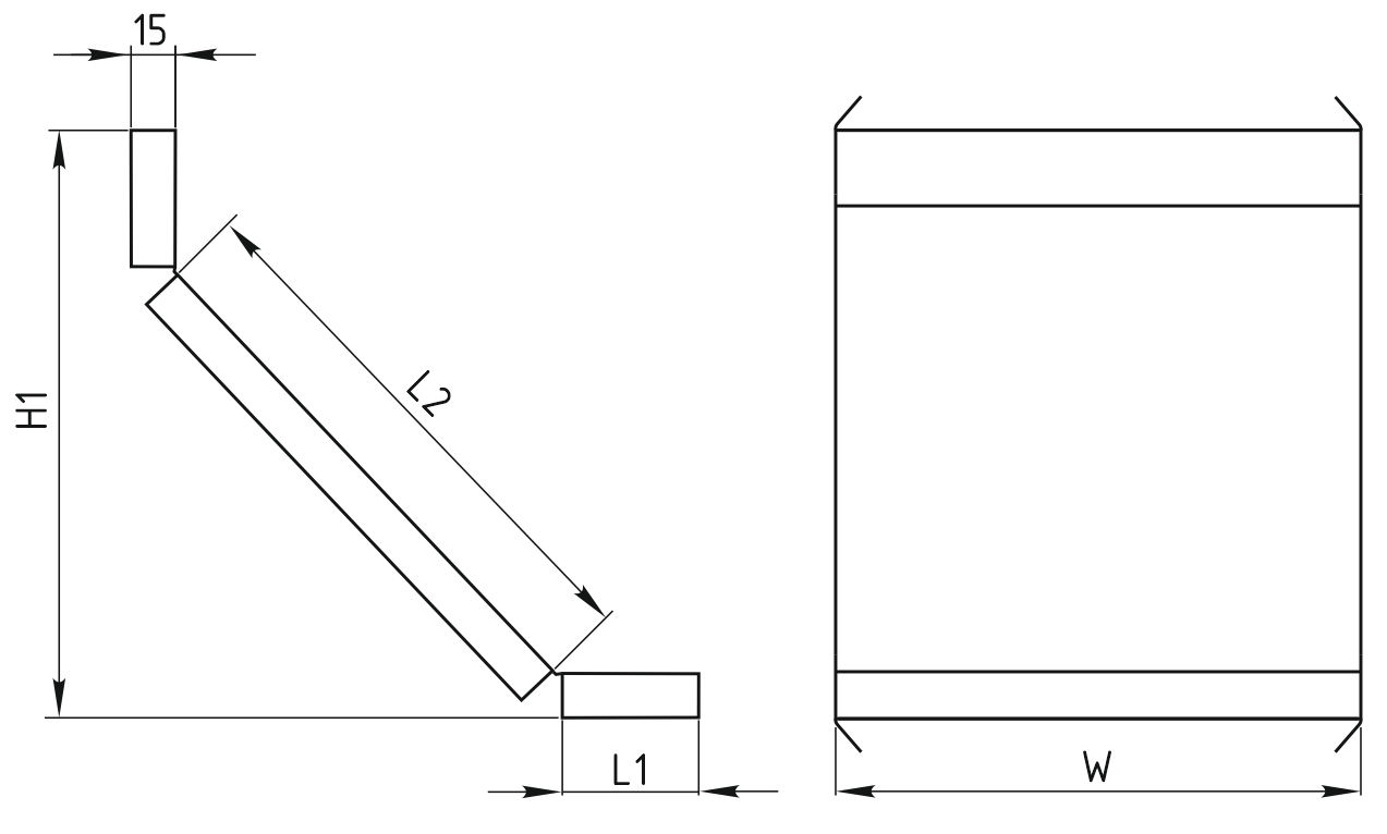
Чертеж КЛУВ-90

Ширина лотка = 50 / 75 / 100 / 150 / 200 / 250 / 300 / 400 / 500 / 600 мм.
Ширина крышки W = 53 / 78 / 103 / 153 / 203 / 253 / 303 / 303 / 403 / 503 / 603 мм.
Высота борта = 15 мм.
Толщина металла = 1 / 1,2 мм.



Артикулы

Ширина
лотка, мм
Ширина
крышки W, мм
Расстояние
L1/L2, мм
Стандартное исполнение
Толщина,
мм
Вес, кг Артикул
50 53 90/180 1,0 0,2 EI-02.03.31.001
75 78 90/180
1,0 0,3 EI-02.03.31.002
100 103 90/180
1,0 0,4 EI-02.03.31.003
150 153 38/76 1,0 0,5 EI-02.03.31.004
200 203 38/76 1,0 0,7 EI-02.03.31.005
250 253 90/180
1,0 0,8 EI-02.03.31.006
300 303 90/180
1,0 0,9 EI-02.03.31.007
400 403 90/180
1,0 1,2 EI-02.03.31.008
500 503 90/180
1,2 1,8 EI-02.03.31.009
600 603 90/180
1,2 2,2 EI-02.03.31.010

Внимание! Цвет, характеристики и комплектация товаров, указанные на сайте, могут отличаться от реальных
Получите детальный расчет цены на ваш строительный объект. Используйте "Кабеленесущие системы" высокого качества. Детальную информацию можно получить в отделе продаж.
Комплексное снабжение строительных объектов
Подбор аналогов с полным соответствием характеристик товаров по проекту для экономии бюджета
Мы используем cookie для улучшения предоставляемых услуг и сбора статистических данных. Продолжая навигацию по сайту, вы соглашаетесь с правилами использования cookie